+4917684865334
sales@borgpumps.com
0
0

Warenkorb ist noch leer
#
#
#
#
#

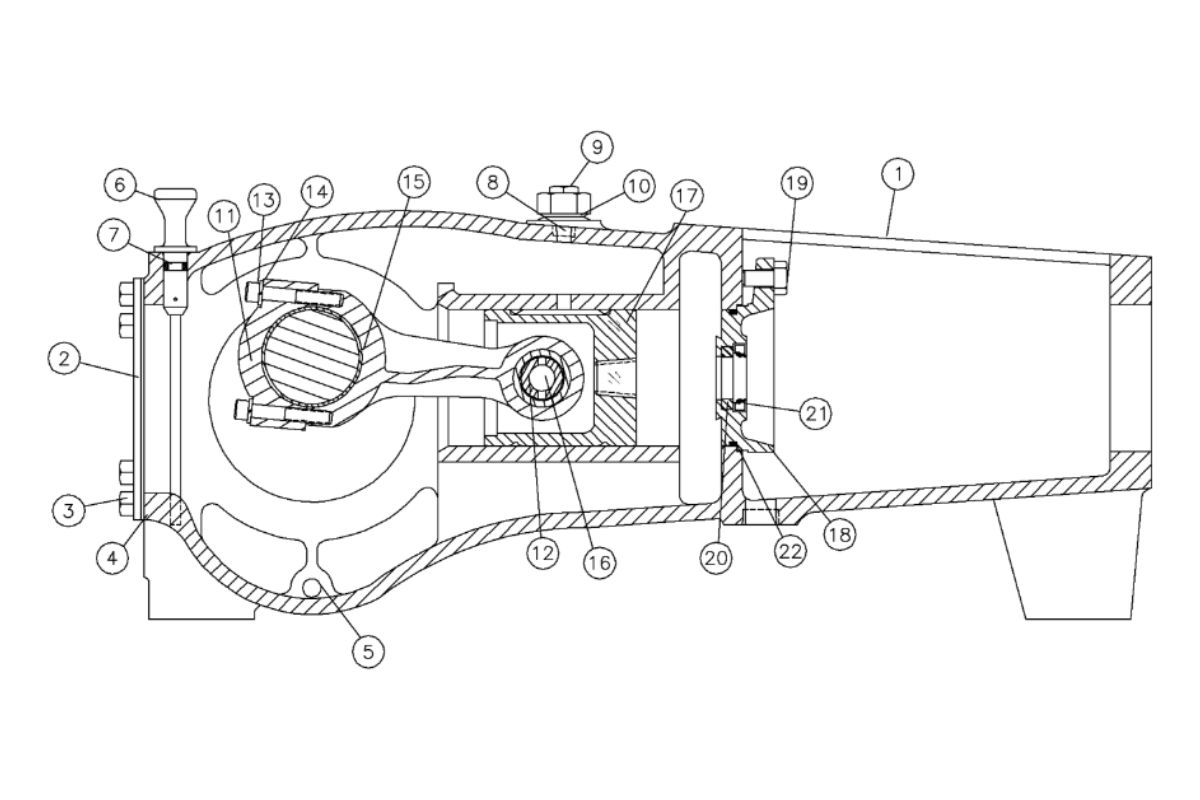
#1 - Crankshaft 228098011
228098011 Crankshaft (№1 on pic.) for mud pump on Vermeer D36x50S2/D24x40 S2 Navigator horizontal directional drill. Parts for rep..
#2 - Cone 228098013
228098013 Cone (№2 on pic.) for mud pump on Vermeer D36x50S2/D24x40 S2 Navigator horizontal directional drill. Parts for repair or..
#3 - 3/8-16x5/8 HHCS 220741009
220741009 3/8-16x5/8 HHCS (№3 on pic.) for mud pump on Vermeer D80x100/D36x50S2 70 GPM/D80x100 S2 Aplex 150 GPM/D36x50S2 50 GPM/D2..
#3 - Cup 228098015
228098015 Cup (№3 on pic.) for mud pump on Vermeer D36x50S2/D24x40 S2 Navigator horizontal directional drill. Parts for repair or ..
#4 - Screw-1/2"nc x 2" long hex head cap 296272949
296272949 Screw-1/2"nc x 2" long hex head cap (№4 on pic.) for mud pump on Vermeer D36x50S2/D24x40 S2 Navigator horizontal directi..
#5 - Shim set 220741113
220741113 Shim set (№5 on pic.) for mud pump on Vermeer D36x50S2/D24x40 S2 Navigator horizontal directional drill. Parts for repai..
#6 - Oil level dipstick 224408081 Aplex 150 GPM
224408081 Oil level dipstick (№6 on pic.) for mud pump on Vermeer D80x100/D80x100 S2/D36x50S2 Navigator horizontal directional dri..
#6 - Oil seal 228098025
228098025 Oil seal (№6 on pic.) for mud pump on Vermeer D36x50 S2/D24x40 S2 Navigator horizontal directional drill. Parts for repa..
#7 - Bearing retainer/motor adapter 228098019
228098019 Bearing retainer/motor adapter (№7 on pic.) for mud pump on Vermeer D36x50 S2/D24x40 S2 Navigator horizontal directional..
#8 - Plug - crank shaft 277781025
277781025 Plug - crank shaft (№8 on pic.) for mud pump on Vermeer D36x50 S2/D24x40 S2/D80x100 Navigator horizontal directional dri..
#8 - Plug-1/4 NPT socket head plug 239383009 Aplex 150 GPM
239383009 Plug-1/4 NPT socket head plug (№8 on pic.) for mud pump on Vermeer D80x100/D36x50S2/D80x100 S2 Navigator horizontal dire..
#9 - O-ring 220741121
220741121 O-ring (№9 on pic.) for mud pump on Vermeer D36x50S2/D24x40 S2 Navigator horizontal directional drill. Parts for repair ..
Zeige 1 bis 12 von 120 (10 Seite(n))
Sie haben gerade gesehen

Spare parts for mud pump Vermeer Navigator D36x50 S2